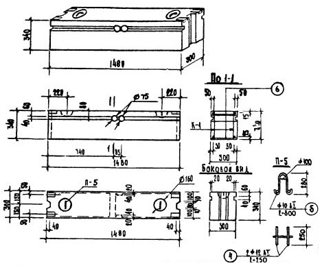
ВБ-15.3.3

Чертеж изделия:
Чертеж ВБ-15.3.3
Характеристики изделия:
ПараметрЗначение
Длина1480 мм
Ширина300 мм
Высота340 мм
Масса260 кг
Нормативный документСерия 1.134-1

ВБ-15.3.3   Блоки внутренних стен горизонтальные по Серии 1.134-1.